Клапаны обратные прямоугольные искробезопасные АЗЕ
Наличие и цену уточняйте у наших менеджеров.
Клапаны обратные прямоугольные искробезопасные АЗЕ
Применение
Клапаны обратные в искробезопасном исполнении АЗЕ предназначены для вентиляционных систем взрывоопасных производств и устанавливаются во взрывоопасных зонах помещений, относящихся к классу В-1, В-1А и В-1Б. В конструкции данного клапана исключена возможность возникновения искровых разрядов между соприкасающимися частями в процессе эксплуатации, что достигается применением разнородных материалов при изготовлении АЗЕ.Клапаны обратные взрывозащитные предназначены для предотвращения перетекания воздуха при отключенном
вентиляторе. Клапан может быть установлен как в горизонтальном, так и в вертикальном воздуховоде. При установке клапана в вертикальном положении поток воздуха должен быть направлен снизу вверх. Рекомендуемая скорость движения воздуха перед клапаном - не менее 6 м/с.
Конструкция
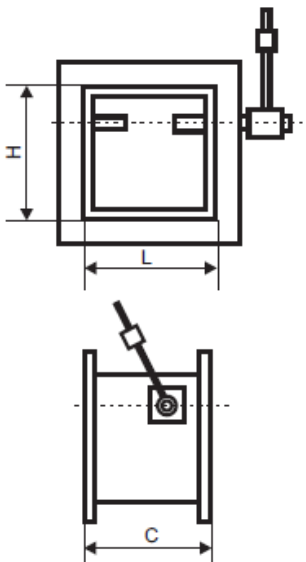
Клапан состоит из корпуса и заслонки сбалансированной противовесом позволяющим удерживать её в закрытом положении. Корпус заслонки изготавливается из оцинкованной или углеродистой стали, имеет фланцевое соединение. Заслонка или её обрамление изготавливается из алюминиевого сплава.Максимальный (присоединительный) типоразмер АЗЕ 1000х1000мм.
Пример обозначения : АЗЕ 300х250
АЗЕ – тип клапана, клапан обратный круглого сечения – искробезопасный300х250 - типоразмер клапана по прямоугольному присоединительному сечению, мм

| Обозначение | H | L | С |
| АЗЕ 150х150 | 150 | 150 | 150 |
| АЗЕ 250х250 | 250 | 250 | 160 |
| АЗЕ 300х250 | 300 | 250 | |
| АЗЕ 400х400 | 400 | 400 | 170 |
| АЗЕ 500х500 | 500 | 500 | |
| АЗЕ 600х600 | 600 | 600 | |
| АЗЕ 800х800 | 800 | 800 | 200 |
| АЗЕ 1000х1000 | 1000 | 1000 |
Для покупки выбранного товара в Ростове-на-Дону достаточно оформить заказ одним из предложенных способов:
- Выбрать понравившийся товар и нажать кнопку «Заказать». При оформлении заказа заполнить форму. Вписать информацию в поля: ФИО, телефон и e-mail. Затем вам перезвонит менеджер, чтобы подтвердить ваше согласие на совершение покупки.
- Выбрать понравившийся товар и нажать кнопку «В корзину». Затем перейти в корзину и нажать «Оформить заказ». Далее заполнить форму с контактными данными и отправить заявку. С вами свяжется менеджер для дальнейшего обсуждения.
Оплата
Мы работаем с физическими и юридическими лицами. И предоставляем сразу два варианта оплаты.
- Наличные. Вы подписываете товаросопроводительные документы, расплачиваетесь денежными средствами, получаете товар и чек.
- Безналичный расчет. Принимаем карты Visa и MasterCard. Доступен при курьерской доставке.
Доставка в Астрахани
Можем доставить ваш заказ собственными ресурсами. Либо через варианты доставки:
- Доставка транспортной компанией. Специалист предложит выбрать удобное время доставки и уточнит адрес.
- Самовывоз со склада. Для получения заказа обратитесь к сотруднику в зоне выдачи и назовите номер.
